公众号
公众号二维码 扫一扫,关注微信公众号
您的位置: 首页 > 资讯攻略 > 娱乐八卦 > 正文

专家称年轻时不应为钱选择工作 网友扒出其有5家公司

发布时间:2024-06-09
作者: 小六
浏览:
加入收藏次)
猫三国

近日,3HFIT董事长姚宁有关年轻时不应为钱去选择工作言论引发关注。

攻略来自lingliuyx.com

他表示,年轻人在20到30岁的年纪当中,其实第一时间不应该考虑能够赚多少钱,而是青春能够给他带来多少的感知。“如果能把事情做的真正精致,那么社会一定会给到回报。” 游戏来自lingliuyx.com

专家称年轻时不应为钱选择工作 网友扒出其有5家公司(图1)

06zyx.com

那么这个3HFIT董事长姚宁是何方神圣呢?有网友扒出他竟然关联了5家公司。直呼:“站在老板的角度发言,真是坏,站着说话不腰疼。”

零六游戏公众号

专家称年轻时不应为钱选择工作 网友扒出其有5家公司(图2) 06sy.cn

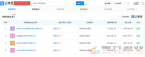
企查查APP显示,NICK YAO(姚宁)目前直接对外投资一家,为“上海舞月风网络科技有限公司”,持股比例80%。 零六游戏公众号

此外,NICK YAO(姚宁),间接控制企业共有四家,包括“上海宁志企业管理咨询股份有限公司”“上海睿拥体育科技有限公司”“上海华库体育科技有限公司”“上海宁领培训学校有限公司(已注销)”。 零六游戏攻略平台

其中,“上海宁志企业管理咨询股份有限公司”为3HFIT关联公司,姚宁是实际控制人、最终受益人。该公司成立于2014年9月,注册资本600万元人民币。 零六攻略小程序

专家称年轻时不应为钱选择工作 网友扒出其有5家公司(图3)

免责声明:我们致力于保护作者版权,注重分享,被刊用文章【本页文章内容】因无法核实真实出处,未能及时与作者取得联系,或有版权异议的,请联系零六找游戏管理员,我们会立即处理! 便捷联系:微信公众号搜<零六游戏>联系在线客服即可
加载中~

作者资料